
10年的行業基礎使我們積累了大量的客戶服務經驗






我們為大量客戶提供了專業的智能化服務
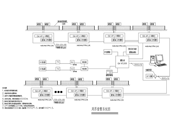
蘇州佳風網絡科技有限公司自2011年從事智能化系統集成,包含:企業一卡通系統,視頻監控系統,周界防范系統,綜合布線系統,出入口管控系統,背景音樂系統,智能化機房建設等,旗下有昆山佳風網絡科技有限公司,10年的行業基礎使我們積累了大量的客戶服務經驗,能夠更好的為用戶服務,我們主要的服務對象為:工廠,企業,辦公大樓,大型店鋪,商場,小區,賓館,酒店,政府單位等;我們的行業優勢:我們與行業領先品牌建立了...
行業知識內容搶先一步了解

雷電,一種極為壯觀的自然現象,同時也是極具破壞力的自然災害,雷電是對人類危害最大的十種自然災害之一。隨著電子技術的飛速發展、網絡的普及,人類越來越依賴于電子設備,…

【華強安防網訊】 8月12日晚10點22分,天津消防隊接到火警報警稱:天津濱海新區港務集團瑞海物流危化品堆垛發生火災,天津消防總隊第一時間組織了9個中隊和港務 局碼頭3個專職隊…

系統由前端設備、圖像處理和傳輸設備、網絡客戶端三個部分組成。 前端設備由攝像機、云臺、解碼器、防護罩、支架、報警探測器、拾音器等組成,負責視頻信號、音頻信號和報警信…

虹膜識別技術是隸屬于生物識別技術中的一種重要的識別獨特個體的方式。我們一般比較熟悉的是指紋識別和人臉識別,目前這兩種較為成熟的技術被應用于智能手機的解鎖(如蘋果在…